3C认证实际上是英文名称“China Compulsory Certification”(中国强制性产品认证制度)的英文缩写,也是国家对强制性产品认证使用的统一标志。 其主要特点是:国家公布统一的目录,确定统..
138-2432-8299 立即咨询
扫码咨询
发布时间:2021-01-26 热度:
3C认证实际上是英文名称“China Compulsory Certification”(中国强制性产品认证制度)的英文缩写,也是国家对强制性产品认证使用的统一标志。
其主要特点是:国家公布统一的目录,确定统一适用的国家标准、技术规则和实施程序,制定统一的标志标识,规定统一的收费标准。凡列入强制性产品认证目录内的产品,必须经国家指定的认证机构认证合格,取得相关证书并加施认证标志后,方能出厂、进口、销售和在经营服务场所使用。
如何查询哪些产品需要3c认证?
1、打开百度搜索,输入3C认证查询。
找到中国质量认证中心网页进入。

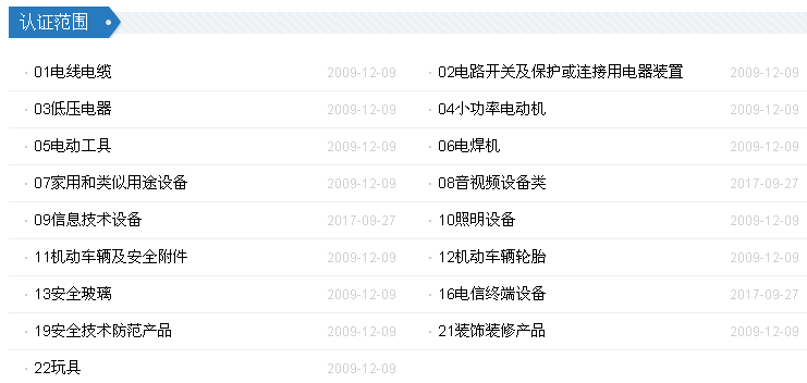
进入此网址后,下拉可以看到3C认证目录范围,如下所示:


官方微信公众号
深圳市宝安82区新安六路勤业商务中心A栋一楼112-114
邮箱:yuhaoqun@ebotek.cn
微信:13824328299(同手机号码)